- Get link
- X
- Other Apps
- Get link
- X
- Other Apps

First Ic Sam Zeloof

Fabrication Process Of Integrated Circuit Ic S

Fabrication Process Of Integrated Circuit Ic S


Monolithic Integration Of High Voltage Thin Film Electronics

Ic Fabrication Process

Cmos Wikipedia

Monolithic Ic Fabrication Process Transistor Diode Resistor

Vlsi Development And Basic Principles Of Ic Fabrication

Pdf Linear Integrated Circuits By D Roy Choudhury Shail B

Design Of Vlsi Systems Chapter 2

Chapter 6 Ic Fabrication Technology From 60s To Date Part 1

Nmos Fabrication Process Steps

Fabrication Of P N Junction Diode Using Ic Fabrication

Wafer Manufacturing Process

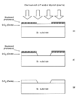
Dxinkontes Blog Archive Photolithography In Ic
- Get link
- X
- Other Apps
Comments
Post a Comment